



一、产品介绍
三辊机使用于密集的细微分布,均质和分散研磨材料于黏胶或半液体分散剂,可用于小批量的研发,实验室和生产领域。可用来制造工业用品,例如化妆品、颜料、电子、食物、牙医用品、陶瓷、润滑剂、胶、肥皂和一些特殊的产品。
·根据不同的应用领域,机器可以达到不同需求的目的。
·多种类的辊轮材质可选(氧化铝、氧化锆、碳化硅,不锈钢,其他要求的特殊材质)。
·不同材质的刮刀可选择(氧化锆、不锈钢,多种塑胶材料)。

二、应用
可被用于小剂量研发、实验室及生产领域。设备也可用于工业分支产品加工,如化妆品、染料、医疗制药、陶瓷、润滑剂、黏合剂、食品、电子工业、化学工业及新材料等产品。

三、产品特点
三辊研磨机是由三条高硬度锆或铝瓷材料套制而成的辊轴、电机电器控制线路及一系列传动组合而成的研磨分散设备。其中三条陶瓷辊轴分为进料辊、中间辊、出料辊,工作状态下,三条辊筒旋转速度依次升高,并通过高线速差形成剪切、对研的效果。
本机研磨可达到的细度是湿法研磨设备中最好之一,手动调整辊子间隙,机构简单可靠,适合加工高粘度物料,研磨细度好、效率高、粒径分布均匀,没有死角,出料干净,残留极少,清洗容易,便于更换颜色或其他产品。

四、主要技术参数
参数/型号 | SG-50Z(自动-数显款) |
辊轴材质 | 氧化铝/氧化锆/氮化硅/合金钢 |
瓷辊规格 | φ50mm/W150mm |
瓷辊精度 | ≤2um (视物料固性质而定) |
转速比例 | 1:2:4 |
间距调节 | 手轮调节 |
瓷辊间隙范围 | 1-140um,调整单元为 1um |
瓷辊转速 | 0-500rpm,无极调速,外置调速旋钮操作控制 |
控制界面 | 人机交互界面,操作便捷! 带有速度、间隙实时显示功能 |
电压 | AC220V/50Hz |
功率 | 400W |
动力配置 | 直流电机 |
尺寸(L*W*H) | L380*W275*H280mm |
重量 | 20kg |
最大处理量 | 0.02L-5L/h |
安全保护 | 带有急停保护,负载异常报警保护 |
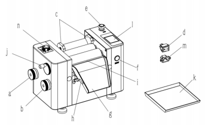
五、总体结构

a 间距调整器(入料处) b 间距调整器(出料处) c 入料挡板 d 电源开关
e 紧急停止开关 f 三色指示灯 g 刀座板 h 刀座扳手
i 刮刀 j 清洗旋钮 k 接料盘 l 人机界面
m 电源插座 n 调速旋钮(开关)



扫一扫咨询微信客服